...loading

Artikeldetails

Begrenzungsleuchte mit 4 LED DARK Version
Artikel-Nr.: 19416
Dunkle LED-Begrenzungsleuchte mit 4 LEDs für LKW-Zubehör.
Dunkle LED-Begrenzungsleuchte mit 4 LEDs für LKW-Zubehör.
Schwarze Begrenzungsleuchte (DARK Version) mit glänzender Front und Anschlusskabeln.
Schwarze Begrenzungsleuchte (DARK Version) mit glänzender Front und Anschlusskabeln.
Rückseite einer schwarzen, ovalen LED-Begrenzungsleuchte mit Kabel und Befestigungslöchern.
Rückseite einer schwarzen, ovalen LED-Begrenzungsleuchte mit Kabel und Befestigungslöchern.
Begrenzungsleuchte mit 4 dunklen LEDs im Metallgehäuse, dazu schwarze Gummirahmen und Schraubkappen.
Begrenzungsleuchte mit 4 dunklen LEDs im Metallgehäuse, dazu schwarze Gummirahmen und Schraubkappen.
Dunkle Begrenzungsleuchte mit 4 leuchtenden, orangen LEDs und Kabeln.
Dunkle Begrenzungsleuchte mit 4 leuchtenden, orangen LEDs und Kabeln.
Leuchtende rote LED-Begrenzungsleuchte mit vier LEDs, dunklem Gehäuse und Kabeln, gespiegelt auf schwarzem Hintergrund.
Leuchtende rote LED-Begrenzungsleuchte mit vier LEDs, dunklem Gehäuse und Kabeln, gespiegelt auf schwarzem Hintergrund.
Dunkle, ovale LED-Begrenzungsleuchte mit vier hell leuchtenden LEDs und weißen Kabeln, reflektiert auf dunklem Untergrund.
Dunkle, ovale LED-Begrenzungsleuchte mit vier hell leuchtenden LEDs und weißen Kabeln, reflektiert auf dunklem Untergrund.
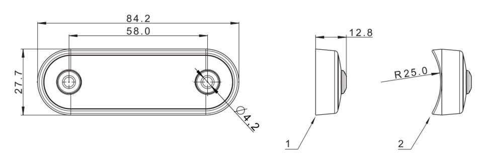
Technische Zeichnung der Begrenzungsleuchte, zeigt flache und gebogene Montageoptionen.
Technische Zeichnung der Begrenzungsleuchte, zeigt flache und gebogene Montageoptionen.

Mengenrabatt möglich:

ab 10 € 8,25
ab 20 € 8,08
ab 40 € 7,65
ECE
wird mit hohem und niedrigen runden Gummi ausgeliefert
ohne Bajonetanschluß

funktionale LED-Begrenzungsleuchte - geringer Stromverbrauch
Europäische E9-Homologation
Elektromagnetische Verträglichkeit - EMV-Zertifikat
Stoßfestigkeit - PC-Lampenschirm
Optionale Polaritätsverbindung

• Diese beliebte LED-Markierungsleuchte passt perfekt auf Röhren
Edelstahl, wird üblicherweise für Stangen für Lieferwagen und Lastwagen verwendet
• Die Lampe ist mit Schraubdeckeln ausgestattet
• Nicht nur atemberaubende Lichtemission, sondern auch angenehm hell

Versorgungsspannung: 12-36V DC
Betriebstemperatur: - 40 ° C bis + 55 ° C.
Lampe ist wetterbeständig
Lampe ist vollständig luftdicht
Leistungsaufnahme: 12V / 24V = 0,05A / 0,05A
Leistungsaufnahme / Nennleistung: 12V / 24V = 0,6W / 1,2W

Zu diesem Artikel empfehlen wir:

Edelstahlrahmen von LEDSON

Runde Gummis schwarz 10er Pack

Herstellerinformation

Hersteller:
Fristom Spólka z o.o.sp.k.
Ul. Przemyslowa 5
PL-86-014 Sicienko
fristom@fristom.com.pl
Der Artikel ist in mehreren Versionen erhätlich.
Bitte wälen Sie eine entsprechende Variante aus.
8,50
inkl. der im Empfängerland gesetzlich vorgeschriebenen Umsatzsteuer zzgl. Versandkosten

�hnliche Artikel

Lampe Kühlergrill LED Double Burner orange
Lampe Kühlergrill LED Double Burner orange
€ 32,99
Lampe Kühlergrill LED Double Burner Glas KLAR / LED orange
Lampe Kühlergrill LED Double Burner Glas KLAR / LED orange
€ 32,99
Marker Light für Double Dutch DUAL gelb/weiß
Marker Light für Double Dutch DUAL gelb/weiß
€ 22,90
Dark Knight Position Leuchte ULTRA SLIM 3LED
Dark Knight Position Leuchte ULTRA SLIM 3LED
€ 22,90
Edelstahlplatte mit Winkel für Lampe Kühlergrill Doubledutch
Edelstahlplatte mit Winkel für Lampe Kühlergrill Doubledutch
€ 9,00
Markierungsleuchte 6 LED
Markierungsleuchte 6 LED
€ 4,50
Markierungsleuchte LED mini rund - Ausverkauf
Markierungsleuchte LED mini rund - Ausverkauf
€ 11,90
LED Markierungsleuchte flach 12-36V
LED Markierungsleuchte flach 12-36V
€ 7,50
LED Positionsleuchte "SCALE"
LED Positionsleuchte "SCALE"
€ 22,50
DTS Double Dutch smoke LED DUAL
DTS Double Dutch smoke LED DUAL
€ 19,95
Winkel Befestigung zum Nachrüsten
Winkel Befestigung zum Nachrüsten
€ 0,65
Markierungsleiste 500mm BLACK
Markierungsleiste 500mm BLACK
€ 32,00
Ledson OptoLine M+ Positionslicht DUAL
Ledson OptoLine M+ Positionslicht DUAL
€ 29,90
Double Dutch LED DUAL & Warnlicht "Silver Arrow"
Double Dutch LED DUAL & Warnlicht "Silver Arrow"
€ 32,50
Begrenzungsleuchte LONG mit 8 LED
Begrenzungsleuchte LONG mit 8 LED
€ 9,50
zur�ck vor

Sortiment

Zuletzt gesehen

Scheibengitter mit   "Wunsch-TEXT"
Scheibengitter mit "Wunsch-TEXT"
Drittanbieter, kein Originalteil des LKW-Herstellers

Bestellung

Bestellen Sie bequem über unseren Onlineshop. Ab 100,- Euro liefern wir innerhalb Deutschlands versandkostenfrei.

Bezahlung

Wir beraten Sie gerne telefonisch

Innerhalb von Deutschland: 09293 947 50
International: +49 9293 947 50